Large-capacity nozzle starch separator for starch applications

The STNH series is a nozzle starch separator designed for continuous discharge of solids.

Technical Feature

  • New
  • Jiangsu, China (Mainland)
  • HUADING
  • 220/380/415
  • CE
  • 1 YEAR
Send Standard Inquiry Add Inquiry List

0 Add Favorite

$0~0

PRIMARY PARAMETERS

Condition
New
Place of Origin
Jiangsu, China (Mainland)
Brand Name
HUADING
Voltage
220/380/415
Certification
CE
Warranty
1 YEAR
After-sales Service Provided
Engineers available to service machinery overseas
solids discharge
nozzle

DETAIL DESCRIPTION

 

Applications

 

The STNH series is a nozzle starch separator designed for continuous discharge of solids. It is used for classifying, concentrating and washing solids, and for clarifying liquids that contain relatively high solids concentrations. This series nozzle starch separator are widely used in the maize starch industry, including primary starch separation, gluten thickening, millstream thickening and middling concentration.

When processing different kinds of tubers as the raw materials for extracting starch, the use of nozzle starch separator as a preconcentrator or refining separator is crucial for the best results. These are available in a wide range of different sizes and configurations for tackling specific separation tasks. The starch separator bowl is available in PS, GT, MST, CL structure, with different disc spacing.

 

 

Working principle

 

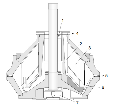
The feed consisting of both liquid and solids is introduced into the rotating centrifuge bowl from the top via a stationary inlet (1) and is accelerated in a distributor (2) before entering the disc stack (3). Separation takes place between the discs. The liquid phase moves through the disc stack towards the centre of the bowl and is discharged to the overflow by gravity, via power a ring (4). The heavy solids are collected at the bowl periphery and continuously discharged to the underflow by gravity, through the nozzles (5). Part of the concentrated solids discharged through the nozzles is recirculated into the bowl periphery through the recirculation tubes (6) via the recirculation chamber (7). Wash water used in some applications for displacement of soluble and other impurities from the solids can be introduced to the bowl periphery the same way.

 

 

Technical specifications

Throughput capacity

45 – 220 m3/h

Max.bowl speed

2900 – 5400 rpm

Motor power

30 – 250 Kw

Nozzle number

8 – 30

Noise

88 dB

Weight

2000 – 10000 Kg

 

 

 

Features

- Low energy consumption due to continuous discharge of the solids concentrate through special nozzles

- Clarifier bowl with closed feed and discharge of the product phase to avoid oxygen absorption

- The solids concentrate is discharged continuously from the bowl through special nozzles

- CIP cleaning at operating speed

- Vibration monitoring

- Speed monitoring

 

 

After service

Technical service:

-technical direction when installation, commissioning

-training for operation and maintain worker

Training:

-separator working principle and structure

-operation regulation and attention

-machine maintains

 

 

Experience

Huading Separator has been developing and manufacturing centrifugal starch separator for nearly 50 years, and is one of the Chinese leading manufacturers. Huading Separator has more experience and expertise than any other separator manufacturer when it comes to applying and using starch separators for the purpose of starch applications.

 

 

 

 

 

 

 

 

 

 

 

Send Consultations Sending PUBLIC question and getting response from the supplier

Send Only your public informations will be shown

All Consultations