Product Model Meaning of YMK series Starch Pump, Solid Slurry Pump

| Parameters of YMK series Starch Pump, Solid Slurry Pump | ||
| Product Name | YMK series YMK series Starch Pump, Solid Slurry Pump | |
| Features | Single stage centrifugal pump | |
| Impeller | Opened impeller | |
| Impeller material | Stainless steel (321, 304, 316, 316L), Plastic (F46) | |
| Medium temperature | -20--150 degree | |
| Mechanical seal material | SIC or metal alloy | |
| Solid-containing content | <40% | |
| Max flow | 3000m3/h | |
| Max head | 125m | |
| Max inlet diameter | 500mm |


Features of YMK series Starch Pump, Solid Slurry Pump

Jiangsu Yamei Pump Group



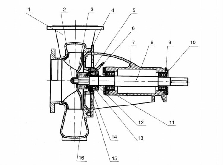
1. Pump Casing 2. Impeller nut 3. Impeller 4. Pump cover 5. Mechanical seal end cover 6. Cooling water mouth 7. Bracket 8. Axle 9. greasing fitting 10. Bearing cover 11. Sleeve 12. oil seal 13. Spring 14. Static ring base 15.Seal static ring 16. Seal dynamic ring
Below is the detailed process of YMK series Starch Pump, Solid Slurry Pump for you to reference.




Medium and application of YMK series Starch Pump, Solid Slurry Pump




package for YMK series Starch Pump, Solid Slurry Pump
Standard wood package.
Each pump will be put into one bubble, sealed box and packed the bo by packing belt.
OEM package:
Name plate can be changed as your instruction and packing design as your OEM design


China