Summary
1. ZW electirc self-priming raw sewage pump sewage transfer pump is special designed for sewage in waste water transfer and treatment. Pump is with self-priming structure, at the bottom of inlet, there is a hole for unloading of solids left in pump. It is an optimal choice of trash pump at home to handle solid particles, fiber, paste, mixed or suspended mediums etc.
2. It also can be equipped with diesel engine for wild application.
3. Pump is with good self-suction performance, strong sewage draining capacity, high efficiency and stable performance, easy operation and repair.
4. It is widely used to light industry, paper-making, textile, foodstuff , chemical industry, light industry, papermaking, electric power, power industry etc.
Performance parameter
| working principle | centrifugal pump |
| structure | single-stage pump |
| main applications | chemical industry |
| fuel | electric motor |
| shaft seal type | mechanical seal |
| rotation | 1450r/min,2900r/min |
| medium temperature | <150degree |
| diameter | ф25-ф125mm |
| pressure | high pressure |
| Casing/Inner parts material | Cast iron, Stainless steel/Cast iron, Stainless steel |
| medium | acid, alkali, salt,ect. |
| Flow | 3.2-200m³/h |
| Head | 20-80m |
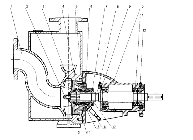
Pump structure

7.framework oil seal
8.shaft
9.bearing cover
10.bracket
11.bearing
12.grease nipple
13.mechamical sealing movable ring
14.mechamical sealing static ring
15.spring
16.cooling nozzle
17.sleeve
Model signification

Performance parameter of ZW series chemical pump

Main accessories



impeller
pump body
pump cover



machinery Seal
water tank
static ring





Our company integrates mechanical processing, hot and cold machining, investment casting, research and production together. We have complete production equipment, physical and chemical tests and inspection methods. The max high voltage test can reach 380V 10KW and the max power can reach 800KW.
There are 6 workshops and six department, specializing in the production of "Yamei" Brand stainless steel corrosion, wear-resistant chemical centrifugal pump and non-metallic fluorine plastic pump. The main materials are 321, 316, 316L, CD4Mcu, 304, 304L, 904, K alloys, T, Hastelloy, UHMWPE, F46, etc which suitable for the transportation of acids, alkalis, salts and other media under various working conditions.
Picture show


HS code: 8413709990
Package:Standard wood package.
1.the bottom of the box.
2. Each pump will be put into one bubble, sealed the box and packed the box by packing belt.
3.separation it bottom or side have mark.
4.For mass good, the separate box will put into a big robust box. .
OEM package:
Name plate can be changed as your instruction and packing design as your OEM design


For more information about Industrial Usage Single Stage Centrifugal Pump, pls contact us freely!










China