Wet product is agitated in the agitating chamber and blow into the dryer body and contact with hot air for heat conduction.
Advangages of XSG Spin Flash Dryer
- Product contact dirctly with hot air, so the heating efficiency is high.
- Hot air enters into the dryer from the bottom and strong air flow forms in the dryer, thus avoid product stuck on the wall.
- Suitable for heat sensitive product
- Short drying time and high product capacity
- Continuous drying
- Heat source could be steam, electricity, natural gas, coal etc.
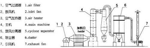
Flow Chart of XSG Flash Dryer

Techncial Parameter
| Model | Size of Machine (mm) | Power of agitation shaft (KW) | Installed power (kw) | Remarks |
| XSG-60 | Φ600 x 5300 | 7.5 | 18-33 | |
| XSG-80 | Φ800 x 5800 | 7.5 | 30-40 | |
| XSG-100 | Φ1000 x 6200 | 11 | 45-50 | |
| XSG-120 | Φ1200 x 6500 | 11 | 50-55 | |
| XSG-140 | Φ1400 x 6700 | 15 | 60-70 |
Note: Customized design is available
China