Smart Differential Pressure Transmitter
PX3051 is produced based on advanced technology, the key material, components and parts are imported from German, the finished instrument is strictly assembled and tested. It is widely used in Petro,Chemical,Metallurgy,Power,Food,Papermaking,Pharmaceutical,mechanical industry.
Feature
1. High accuracy
2. Excellent stability
3. Intelligent HART protocol
4. Solid-state element, plug-in type PCB
5. Small size, lightweight, anti vibration
6. Measure range, Zero point are adjustable
7. Positive transfer up to 500%,Negative transfer low to 600%
8. Damping adjustable
9. Excellent overload protection performance
10. No movable mechanical parts, easy maintenance
11. Same structure in whole series, parts interchange is possible
12. Diaphragm material selectable
13.Explosion proof structure, all-weather service



Key parameter:
Measure medium: Liquid, Gas and Steam Output signal:4-20mA
Measure range:0-0.12KPa ~ 0-40MPa Power supply:12-45VDC,default as 24VDC
Indicator: Pointer type linear indication 0-100% scale or 31/2 bit LCD digital display(0-100Q/0 linear)
Explosion proof: A:Exd II CT6 B: Intrinsic safety ia II CT6
Measure range and Zero point: External adjustable
Positive and negative transfer: After positive or negative transfer on Zero point, the absolute value of the Max. and Min. measure range.Max. positive transfer value=500% of Min. calibration measure rate Max. negative transfer value=600% of Min. calibration measure rate
Temperature range: Amplifier working temperature range: E output -29~+93℃(LT type:-25~+70℃),
S output -29~+85℃
Measurement element filling with Silicone oil:-40~+104℃
Flange type pressure transmitter filling with high temperature silicone oil:+15~+315℃
Ordinary silicone oil:-40~+150℃
Static pressure and over load pressure:4,10,25,32MPa
Humidity: relative humidity 0-100%
Volume absorb value:<0.16cm3
Damp(step response):when filling with silicone oil, continuously adjustable between 0.2S~1.67S
Starting time:2S without preheat
Technical data (without transfer, under standard working condition, filling with silicone oil,SS316 diaphragm)
Accuracy:±0.25%,±0.5% Dead Zone:none(≤0.1%)
Stability: do not beyond the absolute value of error against max. range limit


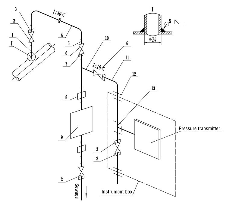
Notions:
1.The Installation position of Secondary valve(part no.6) should be according to the condition at working site,or set at main connecting pipeline(full line diagram scheme A) or branch connecting pipeline(imaginary line diagram scheme B).
If select scheme A, the part no.10 and no.11 are the same consecutive copper pipeline.
2.Convenient to zero calibration, it request to install the pipeline and the relative tee joint,valve and pipe fittings which indicated by imaginary line in picture.
If do not need, you can abrogate.
3.If transmitter do not install in the instrument box, remove the adjacent direct connection pipe joint(part no.12).
4.Seamless steel tube(φ14×2) can replace welded steel tube(DN15).





1. Q: Do you have a catalogue? Can you send me the catalogue to have a check of all your products?
A: Yes , We have product product list.Please contact us online or send an Email to sending the catalogue.
2. Q: I need your price list of all your products, do you have a price list ?
A: We do not have a price list of all of our products. Because we have so many items,and it’s impossible to mark all of their price on a list.And the price are always changing because of the producing cost.If you want to check any price of our products, please feel free to contact us.We will send offer to you soon!
3. Q: I can find the product on your catalogue, can you make this product for me?
A: Our catalogue shows most of our products,but not all.So just let us know what product do you need,and how many do you want.If we do not have it,we can also design and make a new mould to produce it.For your reference,making a ordinary mould will take about 30 days.
4. Q : Can you make customized products and customized packing?
A: Yes.We made a lot of customized products for our customer before.
And we made many moulds for our customers alread.
About customized packing,we can put your Logo or other info on the packing.There is no
problem.Just have to point out that ,it will cause some additional cost.
5. Q: Can you provide samples ? Are the samples free ?
A:We offer paid sample,around 4-5days arrived your hand by DHL, UPS or EMS
6. Q: What kind of payment do you accept ? Can I pay RMB ?
A:Payment <=50000USD,100% in advance. Payment>=50000USD,50%T/T in advance,balance before shipment.Please be sure that we can receive the same amount of the Invoice. And you can pay money In RMB. No problem.
7. Q : How to ship my order ? Is it safe?
A: For small package, we will send it by Express, such as DHL,FedEx,,UPS,TNT,EMS.That’s a Door to Door service.
8. Q: Do you have a guarantee of your product quality?
A: We have a guarantee of one year.
9. Q: Can I become an Agent / Dealer of FOHMQ products?
A: Welcome! But please let me know your Country/Area first,We will have a check and then
talk about this.If you want any other kind of cooperation,do not hesitate to contact us.
China